HBT305D (300kN)
Rebar Bend & Re-bend Testing Machine
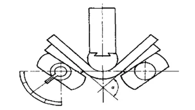
The vertical rebar bending testing machine is designed for bend and rebend evaluation of metallic materials including bars, tubes, plates, polygonal-section materials, and construction-grade ribbed rebar. It supports 180° bending, re-bending, and 90° pipe bending, delivering a maximum forming force of 300kN.
Standards
GB/T 232, GB/T 244, GB/T 3091, GB/T 8162, GB/T 13793, GB/T 28897, ISO 7438, ISO 8491, ISO 559, ISO 6935, BS 4449, BS 4482, BS EN 10080, DIN488-2, SS 212540, ASTM A775, ASTM A706
Request a Quote
Specifications
| Max pushing force, kN | 300 |
| Vertical cylinder max travel, mm | 500 |
| Vertical cylinder speed without specimen, mm/s | 0.5-4 |
| Support roller diameter, mm | 45 |
| Distance between supports, mm | 10-630 |
| Mandrel diameter, mm | According to test standards |
| Diameter of round specimens, mm | Ф6-Ф50 |
| Flat specimen thicknessxwidth, mm | (6-40)x50 |
| Max. bending angle, ° | 180 |
| Electric supply | 380V, 50Hz, 3-phase |
| Power consumption, kW | 5.5 |
| Main dimension, mm | 1470x735x2390 |
| Weight, kg | 1700 |
| Hydraulic power unit dimension, mm | 500x880x990 |
| Hydraulic power unit weight, kg | 250 |
| Hydraulic oil | 46# anti-wearing hydraulic oil, 90 liter |
Test procedure
180° Rebar Bend Test
Step 1: Place the specimen
Step 2: Start bending
Step 3: Return the mandrel
Step 4: Bend to 180°
Step 1: Bend to 90°
Step 2: Re-bend to 20°
We also provide a variety of accessories for all types of mechanical testing equipment.






